长安汽车申请 DeepAI 商标

发布时间:2024-12-29 20:14:26 人气: 561 来源:普来智行

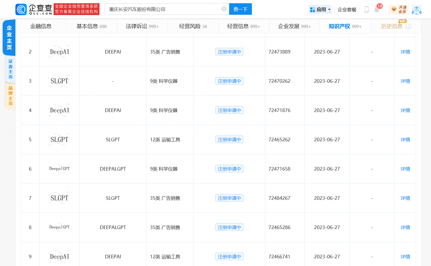
7月5日消息,据企查查显示,重庆长安汽车股份有限公司(以下简称“长安汽车”)于近日申请注册了3枚“Deep AI”商标,国际分类涉及科学仪器、运输工具、广告销售,当前商标状态均为注册申请中。除此之外,该公司还同时注册了多枚“DEEPALGPT”、“SLGPT”商标。

图片来源:企查查

据不完全统计,近段时间,蔚来汽车、小鹏汽车、理想汽车、奇瑞汽车以及长城汽车等均申请了GPT相关商标。如蔚来汽车申请“NIOGPT”、小鹏汽车申请“XPGPT”、理想汽车申请“MindGPT”。

自ChatGPT发布后,百度、阿里巴巴、科大讯飞等国内企业相继发布类GPT大模型。

随着生成式大模型ChatGPT的出现,汽车行业也受到AI风暴的影响。有分析人士表示,未来车企以及供应商在内,从产品设计、画图、需求设计和平台化设计,再到APP开发和中间件开发测试,或许都需要结合AI大模型以增加效率。